Germany Dallmeier video and audio digital virtual matrix system solution

UK FV special dome type camera – A solution for the weakness of conventional speed dome

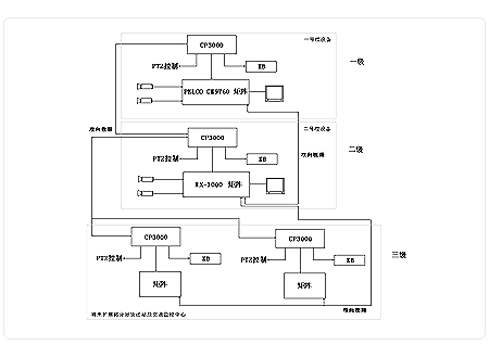
Shenzhen Baoan International Airport CCTV system joining 3 levels network solution
The new way for surveillance in custom – Hong Kong Tung Po, a solution for Foxconn in the tax free zone remote surveillance.
The Shenzhen Baoan airport, located at Chinese Guangdong Province Zhujiang east bank, adjoins Hong Kong and Macau. It is the only airport in China with sea, land, and airport three-dimensional transportation network. It is one of the four large scale developing air transportation center in China. Also, it is a transportation port which has the most passengers entering and leaving the country in Guangdong Province.

The Baoan airport has nearly 400 scheduled flights every day in average, the daily average passenger capacity at 70,000-80,000, the yearly aviation cargo handling ability 200,000 tons.

In order to guarantee this extremely important airport, safety and highly effective operation, while the airport carries an improvement and remodeling to its building one, it also carries a significant technological transformations of the CCTV system. This project, carries out by Tung Po Company and Beijing Blue Shield High & New tech Co on the networking plan design, the equipment (contains software) to be supplied and the construction applied three level networking system technology. This technology has been successfully applied on Shanghai Pudong international airport. It ties up the network between building one new equipped Pelco front end equipment and the building two which currently using MX1000 matrix system and CP3000 network control system. Following diagram described the building one CCTV system (first level), building two system and its sub-system (second level), and future expansion part like cargo center and transportation control center, to implement the three level networking control.

 

The main characteristic of t he CP3000 three levels (multistage) networking control system is the systematic of all levels between bidirectional real-time video transmission and the control signal. Simultaneously in crosswise respectively divides controls may also transmit bidirectional real-time video and control signal, which has manifested the system integrity and the flexibility. Certainly, the two-way transmission must have the authorization. Moreover, CP3000 also able to tie up multi- brands matrix system networking, fully use original system resources. Therefore, it saves the project expense and realizes the new old system three levels networking.

T he CCTV network of CP3000 constitutes of many regions subsystem. The majority of regions must have the monitoring equipment; it can automatically route the camera picture and the control signal to any region.

Each region has its own video matrix, can operate by itself to become a complete CCTV system. The supporting of the network environment requires correlation of some video inputs, output are turned on to the next region matrix, in order to sharing pictures or spreads to the next region or the next level of the system. Camera image display on monitoring device and it must pass through a series of matrices to establishment video path.

Such video switching network management must distribute to all regions and operation must be sufficiently rapidly. It must have overall system consistent in maintenance for some character generators, the error message monitor, and camera control. These functions can be operated by CP3000 main system.

After the system completes and starts operation, enormously it will improve and increases the Baoan International Airport safe guard, working efficiency, and its future system expansion flexibility. Through other alarm system network, it will further strengthen to against terrorist, and completely tune the airport into a modernized secured international airport.

This three levels networking technologies and the solution not merely uses in the airport monitoring, but also used in the municipal transportation, public security border defense and so on many domains. Hong Kong Tung Po Company has those advance technology, and hope to broaden the further co-operation with the end users and the engineering partner.