Indigovision数字化系统
德国Dallmeier 数字虚拟视音频矩阵系统解决方案

英国FV独特的球型摄像机—常规快速球弱点的解决方案

深圳宝安国际机场电视监控系统三级联网的解决方案
海关新监管模式-香港东蒲,关于富士康保税厂区远端监控的解决方案
  深圳宝安国际机场,地处中国广东省珠江口东岸,毗邻港澳,是全国唯一具备海、陆、空立体运输网络的大型国际航空港,它依托华南、连接东亚、欧美等国家和地区,是建设中的中国四大航空货运中心之一,也是广东省出入境旅客最多的客运码头。

   宝安机场每天平均有近 400个航班进出港,日平均旅客流量7-8万人,年航空货物处理能力20万吨。

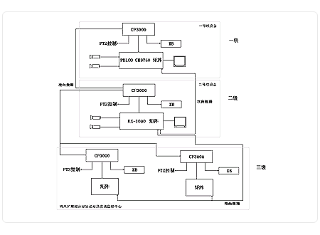
   为了保证这个极其重要的空港,安全高效运行,机场在对 1号候机楼进行全面改进装修的同时,对机场的电视监控系统进行重大的技术改造。这个项目,由香港东蒲科技实业有限公司和北京布鲁顿公司领衔进行联网方案设计,设备(含软件)供应及工程施工采用三级联网系统技术,此技术已有在上海浦东国际机场成功使用的案例,把1号航站楼新增设备-美国PELCO的前端设备和矩阵控制系统及二号楼原有MX1000矩阵系统和前端设备通过CP3000联网控制系统,对一号楼监控系统(一级)、二号楼系统及其子系统(二级)及将来扩展部分,如货运中心及交通控制中心,实行三级联网监控。 (如下图)
 

  CP3000三级(多级)联网控制系统的主要特点是系统的各级可以双向传送实时视频和控制信号,同时在横向各分控之间也可以双向传送实时视频和控制信号,充分体现了系统的整体性和灵活性。当然,双向传输是要有授权的。另外,CP3000还可以实现多品牌矩阵系统捆绑联网,充分利用原有系统资源,节省工程费用,实现新旧系统的三级联网。

   CP3000 CCTV网络是由多个区域子系统构成 。大部分区域要配有监控设备,能够自动路由摄像机图像和控制信号到任何一个区域。

   每个区域有自己的视频矩阵, 能单独运行成为一个完整的 CCTV系统 。 网络环境 的 支持需要 相关的一些视频输入、输出被接入下一个区域矩阵,以便图像共享或传入下一区域或下一级系统,摄像机图像显示在监视器之前,要经过一系列矩阵建立视频路径。

   这样的视频切换网络管理要分布到所有区域而且运行 要够迅速 。至于一些字符发生器,错误信息监测,配置和摄像机控制等特性要整个系统保持一致,这些功能的实现是由 CP3000控制主机来完成的。

   这个系统建成运行后,将极大地改善及增加宝安国际机场安全防范和工作效率,及其对将来系统扩展灵活性,通过为其他警佈系统联网,进一步强化反恐措施,真正把机场建成现代化的安全的国际空港!

   这套三级联网技术和解决方案不仅仅用于机场监控,还可以用于城市交通、公安边防等诸多领域,香港东蒲公司拥有这种先进的技术,同时也希望与广大工程商和用户在这方面进行广泛的合作!